FEATURES:
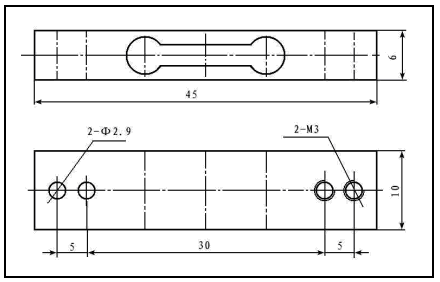
* Miniature Sensor, suitable for plam scales.Product Details
SPECIFICATIONS:
Capacity: 500g
Combine Error: 0.05;
Output sensitivity (mV/V): 0.8 ±20%mV/V;
Non-linearity: ±0.05%FS;
Repeatability: ±0.05%FS;
Hysteresis: ±0.05%FS;
Creep( %FS/3Min.): ±0.05;
Temp.effect on span (%FS/10℃): ±0.05;
Temp. Effect on zero (%FS/10℃): ±2.0;;
Input resistance (Ohm): 1055 ±10;
Output resistance (Ohm): 1000 ±10;
Insulation resistance (M Ohm): >2000(50VDC);
Zero balance ( %FS): ±0.1mV/V;
Operating temperature (℃): -10 ~ 40;
Excitation, Max. (V): 6 (DC);
Safe overload (%FS): 150;



